首頁 / 產品介紹 / 客製化產品 / 電子部品 / 電子部品 03 部 / 50 OHM 射頻開關IC
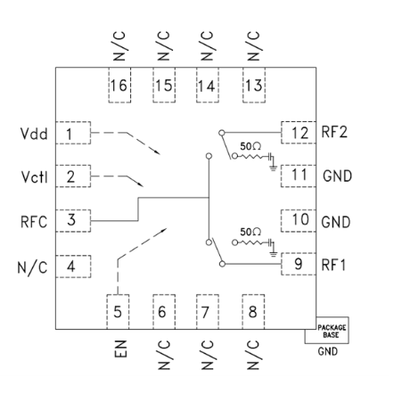
HMC849 RF Sw IC
HIGH ISOLATION SPDT NON-REFLECTIVE SWITCH, DC - 6 GHz
F0376 HMC321LP4E
RF SW IC SP4T DC ~ 8GHz